钢结构厂房钢结构厂房钢屋盖的组成、形式及计算和构造
2012-10-31 00:00
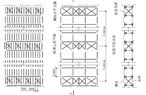
5692 当钢结构厂房钢屋盖以平面桁架作为主要承重构件时,各个平面桁架(屋架)要用各种支撑及纵向杆件(系杆)连成一个空间几何不变的整体结构,才能承受荷载。这些支撑及系杆统称为屋盖支撑。
它由上弦横向水平支撑、下弦横向水平支撑、下弦纵向水平支撑、垂直支撑及系杆组成
9.4.3)。下面分别介绍各类支撑及系杆的位置、组成、形式及计算和构造。
1.上弦横向水平支撑
上弦横向水平支撑一般布置在屋盖两端(或每个温度区段的两端)的两榀相邻屋架的上弦杆之间,位于屋架上弦平面沿屋架全跨布置,形成一平行弦桁架,其节间长度为屋架节间距的2~4倍。
它的弦杆即屋架的上弦杆,腹杆由交叉的斜杆及竖杆组成。交叉的斜杆一般用单角钢或圆钢制成(按拉杆计算),竖杆常用双角钢的T形截面。当屋架有檩条时,竖杆由檩条兼任。
2.下弦横向水平支撑
下弦横向水平支撑布置在与上弦横向水平支撑同一开间,它也形成一个平行弦桁架,位于屋架下弦平面。其弦杆即屋架的下弦,腹杆也是由交叉的斜杆及竖杆组成,其形式和构造与上弦横向水平支撑相同。横向水平支撑的间距不宜大于60 m,当温度区段长度较长时,应在中部增设上下弦横向水平支撑。
3.下弦纵向水平支撵
它位于屋架下弦两端节间处,位于屋架下弦平面,沿房屋全长布置,也组成一个具有交叉斜杆及竖杆的平行弦桁架,它的端竖杆就是屋架端节间的下弦。下弦纵向水平支撑与下弦横向水平支撑共同构成一个封闭的支撑框架,以保证屋盖结构有足够的水平刚度。
一般情况下,屋架可以不设置下弦纵向水平支撑,仅在房屋有较大起重量的桥式吊车、壁行吊车或锻锤等较大振动设备,以及房屋高度或跨度较大或空间刚度要求较大时,才设置下弦纵向水平支撑。此外,在房屋设有托架处,为保证托架的侧向稳定,在托架范围及两端各延伸一个柱间应设置下弦纵向水平支撑。
4.垂直支撑
垂直支撑位于上、下弦横向水平支撑同一开间内,形成一个跨长为屋架间距的平行弦桁架。它的上、下弦杆分别为上、下弦横向水平支撑的竖杆,它的端竖杆就是屋架的竖杆(或斜腹杆)。垂直支撑中央腹杆的形式由支撑桁架的高跨比决定,一般常采用W形或双节间交叉斜杆等形式。腹杆截面可采用单角钢或双角钢T形截面。
跨度小于30 m的梯形屋架通常在屋架两端和跨度中央各设置一道垂直支撑。当跨度大于30 m时,则在两端和跨度1/3处分别共设四道。一般情况下,跨度小于18 m的三角形屋架只需在跨度中央设一道垂直支撑,大于18 m时则在1/3跨度处共设两道。
5.系杆
在沿厂房纵向每间隔4~6个屋架应设置垂直支撑,以保证屋架安装时的稳定性。系杆在未设横向支撑的开间,相邻平面屋架由系杆连接。系杆通常在屋架两端,有垂直支撑位置的上、下弦节点以及屋脊和天窗侧柱位置,沿房屋纵向通长布置。系杆对屋架上、下弦杆提供侧向支承,因此必要时,还应根据控制这些弦杆长细比的要求按一定距离增设中间系杆。对于有檩屋盖,檩条可兼作系杆。
系杆申只能承受拉力的称为柔性系杆,设计时可按容许长细比[A] =400(有重级工作制吊车的厂房为350)控制,常采用单角钢或张紧的圆钢拉条(此时不控制长细比);能承受压力的称刚性系杆,设计时可按[A] =200控制,常用双角钢T形或十字形截面。一般在屋架下弦端部及上弦屋脊处需设置刚性系杆,其他可设柔性系杆。
当房屋两端为山墙时,上、下弦横向水平支撑及垂直支撑可设在两端第二开间,这时第一开间的所有系杆均设为刚性系杆。当房屋长度大于60 m时,应在中间增设一道(或几道)上、下弦横向水平支撑及垂直支撑。
钢结构屋盖支撑因受力较小一般不进行内力计算。其截面尺寸由杆件容许长细比和构造要求确定。交叉斜杆一般按拉杆控制,容许长细比与柔性系杆相同。非交叉斜杆、弦杆等按压杆[A]=200控制。对于跨度较大且承受墙面传来很大的风荷载的横向水平支撑,应按桁架体系计算内力选择截面,同时亦应控制长细比。
具有交叉斜腹杆的支撑桁架可按图9.4.4所示计算简图计算。在节点荷载F的作用下,图中每节间仅考虑受拉斜腹杆工作,另一根(虚线所示)斜腹杆则假定它因屈曲退出工作(偏安全),这样桁架成为静定体系使计算简化。当荷载反向时,两组斜杆受力情况怡好相反。
图9.4.4支撑桁架杆件的内力计算简图屋盖支撑的构造应力求简单、安装方便。其连接节点构造如图9.4.5所示。

















